专注您所关注

 

R4是定为电子推出的一款高性能跳频信号处理平台,该平台具有跳速高、小体积、低功耗等诸多优点。

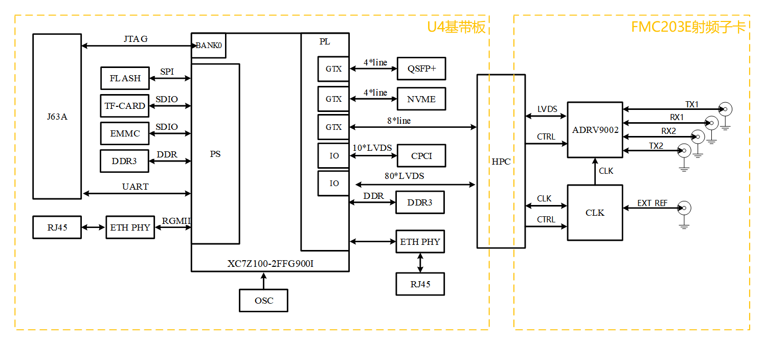
在性能上,R4以ADI公司的RF捷变收发器ADRV9002以及赛灵思的ZYNQ7Z100作为处理核心,提供2路接收2路发射,射频工作频率范围为30 MHz至6000 MHz,涵盖UHF、VHF、工业、科研和医疗(ISM)频段以及窄带(kHz)和宽带工作频率最高可达40 MHz的蜂窝频段。ADRV9002支持TDD和FDD操作。发射链路添加射频放大器提高线性度,接收链路添加低噪声放大器降低输入噪声,提高接收机的灵敏度。支持双千兆以太网(PS、PL各一个)、QSFP+、1PPS以及时钟输入。

在配置方面,R4通过ZYNQ管理硬件配置,我们提供演示、使用Demo以及对应配置的API函数,用户可以通过调用对应API以完成射频参数配置,操作简单、方便有效。除此之外,我们还提供PC端的配置软件,可以通过图形化的软件点击配置你所需要的射频参数。

在应用场景方面,R4支持快速跳频以及多板同步功能,从而使得R4可以用于抗干扰通信、相控阵雷达、信道模拟器、多通道同步采集存储等场景。

  • R4关键指标

    (1) 集成ADRV9002双通道2发2收TDD射频收发芯片;

    (2) 集成Xilinx ZYNQ 系列FPGA芯片 XC7Z100;

    (3) 内置1GB容量DDR3、8GB大小EMMC以及32MB大小FLASH;

    (4) 频率范围为 30 MHz 至 6000 MHz;

    (5) 收发带宽为 12 kHz 至 40 MHz;

    (6) 支持多芯片同步功能;

    (7) 支持快速跳频以及跳频表动态载入;

    (8) 完全集成的 DPD,适用于窄带和宽带波形;

    (9) 发射功率最大10dBm(典型值);

    (10) 支持外部参考时钟输入,板载时钟软件可配置;

    (11) 支持同步采样,同步触发信号;

    (12) 提供底层驱动和接口程序。